苹果首款:iPhone Air 单摄也能用人像模式拍美食、植物等
alixixi 9 月 13 日消息,科技媒体 9to5Mac 今天(9 月 13 日)发布博文,报道称 iPhone Air 成为首款采用后置单摄像头,但支持完整“新一代人像功能”的机型。alixixi援引博文介绍
alixixi 9 月 13 日消息,科技媒体 9to5Mac 今天(9 月 13 日)发布博文,报道称 iPhone Air 成为首款采用后置单摄像头,但支持完整“新一代人像功能”的机型。alixixi援引博文介绍
alixixi 9 月 13 日消息,五菱星光 730 全新 MPV 车色昨日公布,分别为烟霞灰、银霜白、耀石黑、暮山紫,车身采用巴斯夫 2K 清漆 + 8 层工艺打造。这款新车此前已经在 2025 成都车展亮相。作
alixixi 9 月 13 日消息,梅赛德斯-奔驰长期以来在电动车型上使用 EQ 子品牌,并推出了 EQS、EQE 轿车及其 SUV 版本。今年 2 月,梅赛德斯-奔驰宣布,除了开发纯电 C-Class、GLC 及
车灯光轨是非常收摄影师喜爱的拍摄题材,也是长曝光慢门摄影的常见题材之一,今天分享一下拍摄方法和技巧。01、设备选择相机或手机都可以拍摄,手机需要具有“专业模式”或者是相应的“慢门”功能。三脚架也是必不可少的,在拍摄时
alixixi 9 月 13 日消息,汽车媒体 The SuperCar Blog 昨日(9 月 12 日)发布博文,分享了一组照片,展示了丰田高性能版 GRMN Corolla 卡罗拉掀背车,采用碳纤维通风引擎盖、
alixixi 9 月 13 日消息,科技媒体 lowyat 昨日(9 月 12 日)发布博文,报道称三星 Galaxy S26 Pro(可视为标准版)、Galaxy S26 Edge 两款手机依然最高支持 25W
alixixi 9 月 13 日消息,目前 DIY 玩家中大部分硬件,例如机箱、主板、显卡、散热器、风扇、电源都已经推出搭载显示屏的型号,现在全何(V-Color)又推出了全球首款带 OLED 屏的 DDR5 内存条
alixixi 9 月 13 日消息,据灯塔专业版数据,截至 9 月 13 日 12 时 54 分,2025 年大盘票房 (含预售) 突破 400 亿,历时 256 天,比去年提前 76 天。从图中可以看到,《哪吒之
alixixi 9 月 13 日消息,据央视新闻报道,记者从中国石油获悉,全球首个超稠油开采塔式光热替代示范工程项目 9 月 12 日在新疆投产,每年可替代天然气近 392 万立方米,标志着我国油气开发绿色低碳转型取
alixixi 9 月 13 日消息,针对造谣抹黑各家车企的“黑公关”一事,小米创办人,董事长兼 CEO 雷军刚刚发文,表示小米法务部今年已取证数百个账号,发起诉讼数十起,目前正在等待逐一开庭。alixixi附原文如
alixixi 9 月 13 日消息,汽车媒体 BMW Blog 昨日(9 月 12 日)发布博文,报道称宝马 UI / UX 开发高级副总裁 Stephan Durach 近日公开发言,称苹果 CarPlay Ul
alixixi 9 月 13 日消息,据《Business Insider》,埃隆・马斯克旗下的人工智能初创公司 xAI 于当地时间周五晚间裁撤了至少 500 名数据标注员工。这些员工主要负责训练公司旗下聊天机器人
“科技昨夜今晨”时间,大家好,现在是 2025 年 9 月 13 日星期六,今天的重要科技资讯有:1、5999 元起,苹果 iPhone 17 / Pro / Max 开启预购苹果 iPhone 17、iPhone
alixixi 9 月 13 日消息,吉利全新星瑞 / 星越 L・东方曜车型 9 月 23 日上市。此前官方公布了两款车型预售价格,其中星瑞・东方曜预售价区间 9.97-13.87 万元;星越 L・东方曜预售价区间
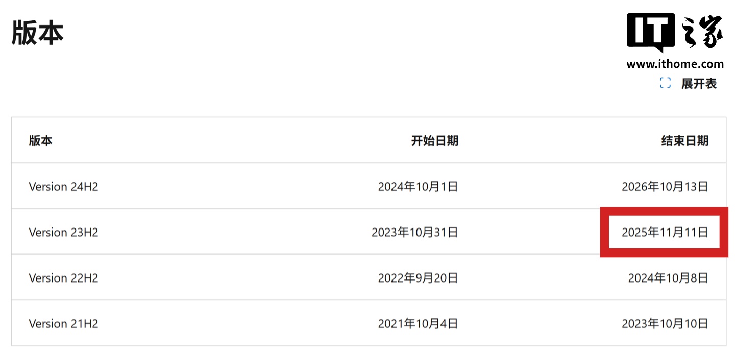
alixixi 9 月 13 日消息,科技媒体 bleepingcomputer 昨日(9 月 12 日)发布博文,报道称微软已提醒用户,Windows 11 23H2 家庭版和专业版将于 11 月结束支持,届时将不
学习通是常用的学习工具,可以随时进行学习,找到你需要的资源,跨平台就能在线学习,了解学习的进度,但是很多小伙伴找不到入口在哪,下面就分享给大家。学习通网页版登录
点击阅读